|
Hydraulics, Inc. 旋轉接頭 修理包 SWIVELS SEAL KITS
SWIVELS, COUPLINGS, AND CONTROLS FOR HYDRAULIC SYSTEMS
SWIVELS;S-Inline,HS-Heavy Duty Inline,9S-90° Swivel,9SS-Dual Plane Swivel,18S-Parallel Plane Swivel,Flange Swivels
SEAL KITS | SWIVEL SEAL KITS
特點和優勢Features and Advantages
BLANK BUNA-N
-3 FLUOROCARBON (VITON?)
-7 ETHYLENE PROPYLENE (EPR)
-9 NEOPRENE
OTHERS ON REQUEST
NOTE: SPECIAL SEALS
若要獲得含有非標準丁腈橡膠(buna-n)密封化合物的套件,用表A中適用的密封材料代碼作為替換密封套件零件號的后綴。
To obtain kits with seal compounds other than standard buna-n, suffix the replacement seal kit part number with the applicable seal material code number from Table A.
示例:對于氯丁橡膠密封,S6-1套件將變為S6-1-9。Example: S6-1 kit would become S6-1-9 for neoprene seal.
| S-SERIES |
INCLUDES DUST AND FLUID SEALS WITH BACK UP RINGS, BALLS, AND BALL PLUG |
| BODY SIZE |
S6 |
S8 |
S12 |
S14 |
S16 |
S20 |
S24 |
S32 |
| KIT NO. |
S6-1 |
S8-1 |
S12-1 |
S14-1 |
S16-1 |
S20-1 |
S24-1 |
S32-1 |
| HS-SERIES |
INCLUDES DUST AND FLUID SEALS WITH BACK UP RINGS, BALLS, AND BALL PLUGS |
| BODY SIZE |
HS6 |
HS8 |
HS12 |
HS16 |
HS20 |
HS24 |
S32 |
| KIT NO. |
HS6-1 |
HS8-1 |
HS12-1 |
HS16-1 |
HS20-1 |
HS24-1 |
HS32-1 |
| 9S-SERIES |
INCLUDES DUST AND FLUID SEALS WITH BACK UP RINGS |
| BODY SIZE |
9S4 |
9S6 |
9S8 |
9S12 |
9S16 |
9S20 |
9S24 |
9S32 |
| KIT NO. |
9S4-1 |
9S6-1 |
9S8-1 |
9S12-1 |
9S16-1 |
9S20-1 |
9S24-1 |
9S32-1 |
| 9SS-SERIES |
INCLUDES DUST AND FLUID SEALS WITH BACK UP RINGS, BALLS AND BALL PLUG |
| BODY SIZE |
9SS6 |
9SS8 |
9SS12 |
9SS16 |
9SS20 |
9SS24 |
| KIT NO. |
9SS6-1 |
9SS8-1 |
9SS12-1 |
9SS16-1 |
9SS20-1 |
9SS24-1 |
| 18S-SERIES |
INCLUDES DUST AND FLUID SEALS WITH BACK UP RINGS |
| BODY SIZE |
18S6 |
18S8 |
18S12 |
18S16 |
18S20 |
18S24 |
18S32 |
| KIT NO. |
9S6-1 |
9S8-1 |
9S12-1 |
9S16-1 |
9S20-1 |
9S24-1 |
9S32-1 |
| 93S-SERIES |
INCLUDES DUST AND FLUID SEALS AND RETAINING PLATE SCREWS |
| BODY SIZE |
93S12 |
93S16 |
93S20 |
93S24 |
93S32 |
93S40 |
| KIT NO. |
93S12-1 |
93S16-1 |
93S20-1 |
93S24-1 |
93S32-1 |
93S40-1 |
| 96S-SERIES |
INCLUDES DUST AND FLUID SEALS AND RETAINING PLATE SCREWS |
| BODY SIZE |
96S8 |
96S12 |
96S16 |
96S20 |
96S24 |
96S32 |
| KIT NO. |
96S8-1 |
96S12-1 |
96S16-1 |
96S20-1 |
96S24-1 |
96S32-1 |
This table is for S and 9SS Grease Zerk.

TABLE B |
| BODY SIZE |
6 |
8 |
12 |
14 |
16 |
20 |
24 |
32 |
| "L" DIA |
2.21 |
2.46 |
2.46 |
2.59 |
2.96 |
3.46 |
3.96 |
4.71 |
| 56.1mm |
62.5mm |
62.5mm |
65.8mm |
75.2mm |
87.9mm |
100.6mm |
119.6mm |
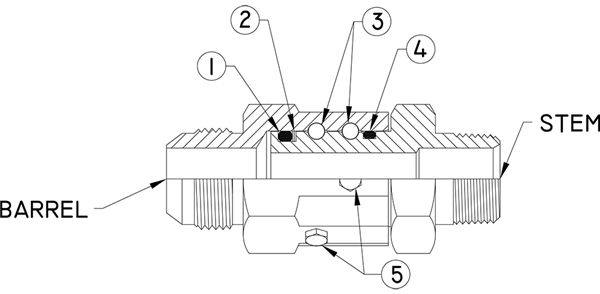
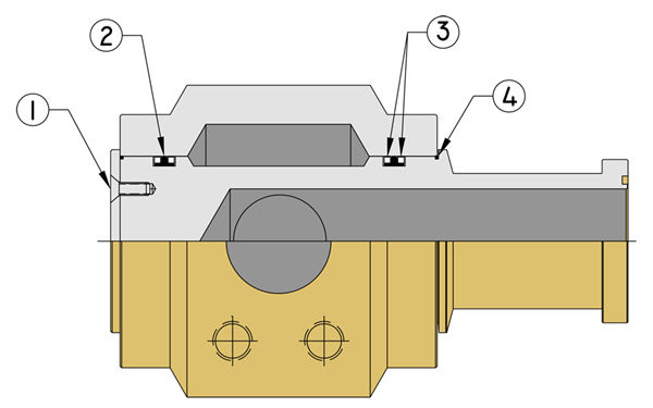
SEAL KITS | SWIVEL SEAL KITS | S-INLINE SWIVEL SEAL KITS
S-INLINE SWIVEL SEAL KITS

| Part Number |
Body Size |
1 |
2 |
3 |
4 |
5 |
6 |
| S6-1 |
S6 |
Fluid Seal |
Back-up Ring |
Retainer Balls |
Dust Seal |
Ball Plug |
NA |
| S8-1 |
S8 |
Fluid Seal |
Back-up Ring |
Retainer Balls |
Dust Seal |
Ball Plug |
NA |
| S12-1 |
S12 |
Fluid Seal |
Back-up Ring |
Retainer Balls |
Dust Seal |
Ball Plug |
NA |
| S14-1 |
S14 |
Fluid Seal |
Back-up Ring |
Retainer Balls |
Dust Seal |
Ball Plug |
NA |
| S16-1 |
S16 |
Fluid Seal |
Back-up Ring |
Retainer Balls |
Dust Seal |
Ball Plug |
NA |
| S20-1 |
S20 |
Fluid Seal |
Back-up Ring |
Retainer Balls |
Dust Seal |
Ball Plug |
NA |
| S24-1 |
S24 |
Fluid Seal |
Back-up Ring |
Retainer Balls |
Dust Seal |
Ball Plug |
NA |
| S32-1 |
S32 |
Fluid Seal |
Back-up Ring |
Retainer Balls |
Dust Seal |
Ball Plug |
NA |
SEAL KITS | SWIVEL SEAL KITS | HS-HEAVY DUTY INLINE SWIVEL SEAL KITS
HS-HEAVY DUTY INLINE SWIVEL SEAL KITS

| Part Number |
Body Size |
1 |
2 |
3 |
4 |
5 |
6 |
| HS6-1 |
HS6 |
Fluid Seal |
Back-up Ring |
Retainer Balls |
Dust Seal |
Ball Plug |
NA |
| HS8-1 |
HS8 |
Fluid Seal |
Back-up Ring |
Retainer Balls |
Dust Seal |
Ball Plug |
NA |
| HS12-1 |
HS12 |
Fluid Seal |
Back-up Ring |
Retainer Balls |
Dust Seal |
Ball Plug |
NA |
| HS16-1 |
HS16 |
Fluid Seal |
Back-up Ring |
Retainer Balls |
Dust Seal |
Ball Plug |
NA |
| HS20-1 |
HS20 |
Fluid Seal |
Back-up Ring |
Retainer Balls |
Dust Seal |
Ball Plug |
NA |
| HS24-1 |
HS24 |
Fluid Seal |
Back-up Ring |
Retainer Balls |
Dust Seal |
Ball Plug |
NA |
| HS32-1 |
HS32 |
Fluid Seal |
Back-up Ring |
Retainer Balls |
Dust Seal |
Ball Plug |
NA |
SEAL KITS | SWIVEL SEAL KITS | 9S-90° SWIVEL SEAL KITS
9S-90° SWIVEL SEAL KITS

| Part Number |
Body Size |
1 |
2 |
3 |
4 |
5 |
6 |
| 9S4-1 |
9S4 |
Retaining Ring |
Fluid Seal (Qty 2) |
Backup Rings (Qty 2) |
Dust Seal (Qty 2) |
NA |
NA |
| 9S6-1 |
9S6 |
Retaining Ring |
Fluid Seal (Qty 2) |
Backup Rings (Qty 2) |
Dust Seal (Qty 2) |
NA |
NA |
| 9S8-1 |
9S8 |
Retaining Ring |
Fluid Seal (Qty 2) |
Backup Rings (Qty 2) |
Dust Seal (Qty 2) |
NA |
NA |
| 9S12-1 |
9S12 |
Retaining Ring |
Fluid Seal (Qty 2) |
Backup Rings (Qty 2) |
Dust Seal (Qty 2) |
NA |
NA |
| 9S16-1 |
9S16 |
Retaining Ring |
Fluid Seal (Qty 2) |
Backup Rings (Qty 2) |
Dust Seal (Qty 2) |
NA |
NA |
| 9S20-1 |
9S20 |
Retaining Ring |
Fluid Seal (Qty 2) |
Backup Rings (Qty 2) |
Dust Seal (Qty 2) |
NA |
NA |
| 9S24-1 |
9S24 |
Retaining Ring |
Fluid Seal (Qty 2) |
Backup Rings (Qty 2) |
Dust Seal (Qty 2) |
NA |
NA |
| 9S32-1 |
9S32 |
Retaining Ring |
Fluid Seal (Qty 2) |
Backup Rings (Qty 2) |
Dust Seal (Qty 2) |
NA |
NA |
SEAL KITS | SWIVEL SEAL KITS | 9SS-DUAL PLANE SWIVEL SEAL KITS
9SS-DUAL PLANE SWIVEL SEAL KITS

| Part Number |
Body Size |
1 |
2 |
3 |
4 |
5 |
6 |
| 9SS6-1 |
9SS6 |
Retaining Ring |
Fluid Seal (Qty 3) |
Ball Plug |
Retainer Balls |
Back-up Ring (Qty 3) |
Dust Seal (Qty 3) |
| 9SS8-1 |
9SS8 |
Retaining Ring |
Fluid Seal (Qty 3) |
Ball Plug |
Retainer Balls |
Back-up Ring (Qty 3) |
Dust Seal (Qty 3) |
| 9SS12-1 |
9SS12 |
Retaining Ring |
Fluid Seal (Qty 3) |
Ball Plug |
Retainer Balls |
Back-up Ring (Qty 3) |
Dust Seal (Qty 3) |
| 9SS16-1 |
9SS16 |
Retaining Ring |
Fluid Seal (Qty 3) |
Ball Plug |
Retainer Balls |
Back-up Ring (Qty 3) |
Dust Seal (Qty 3) |
| 9SS20-1 |
9SS20 |
Retaining Ring |
Fluid Seal (Qty 3) |
Ball Plug |
Retainer Balls |
Back-up Ring (Qty 3) |
Dust Seal (Qty 3) |
| 9SS24-1 |
9SS24 |
Retaining Ring |
Fluid Seal (Qty 3) |
Ball Plug |
Retainer Balls |
Back-up Ring (Qty 3) |
Dust Seal (Qty 3) |
SEAL KITS | SWIVEL SEAL KITS | 18S-180° SWIVEL SEAL KITS
18S-180° SWIVEL SEAL KITS

| Part Number |
Body Size |
1 |
2 |
3 |
4 |
5 |
6 |
| 9S6-1 |
18S6 |
Retaining Ring |
Back-up Ring (Qty 2) |
Fluid Seal (Qty 2) |
Dust Seal (Qty 2) |
NA |
NA |
| 9S8-1 |
18S8 |
Retaining Ring |
Back-up Ring (Qty 2) |
Fluid Seal (Qty 2) |
Dust Seal (Qty 2) |
NA |
NA |
| 9S12-1 |
18S12 |
Retaining Ring |
Back-up Ring (Qty 2) |
Fluid Seal (Qty 2) |
Dust Seal (Qty 2) |
NA |
NA |
| 9S16-1 |
18S16 |
Retaining Ring |
Back-up Ring (Qty 2) |
Fluid Seal (Qty 2) |
Dust Seal (Qty 2) |
NA |
NA |
| 9S20-1 |
18S20 |
Retaining Ring |
Back-up Ring (Qty 2) |
Fluid Seal (Qty 2) |
Dust Seal (Qty 2) |
NA |
NA |
| 9S24-1 |
18S24 |
Retaining Ring |
Back-up Ring (Qty 2) |
Fluid Seal (Qty 2) |
Dust Seal (Qty 2) |
NA |
NA |
| 9S32-1 |
18S32 |
Retaining Ring |
Back-up Ring (Qty 2) |
Fluid Seal (Qty 2) |
Dust Seal (Qty 2) |
NA |
NA |
SEAL KITS | SWIVEL SEAL KITS | 93S-FLANGED SWIVEL CODE 61 SEAL KITS
93S-FLANGED SWIVEL CODE 61 SEAL KITS

| Part Number |
Body Size |
1 |
2 |
3 |
4 |
5 |
6 |
| 93S12-1 |
93S12 |
Retainer Screw |
Fluid Seal (Qty 2) |
Backup Rings (Qty 4) |
Dust Seal (Qty 2) |
NA |
NA |
| 93S16-1 |
93S16 |
Retainer Screw |
Fluid Seal (Qty 2) |
Backup Rings (Qty 4) |
Dust Seal (Qty 2) |
NA |
NA |
| 93S20-1 |
93S20 |
Retainer Screw |
Fluid Seal (Qty 2) |
Backup Rings (Qty 4) |
Dust Seal (Qty 2) |
NA |
NA |
| 93S24-1 |
93S24 |
Retainer Screw |
Fluid Seal (Qty 2) |
Backup Rings (Qty 4) |
Dust Seal (Qty 2) |
NA |
NA |
| 93S32-1 |
93S32 |
Retainer Screw |
Fluid Seal (Qty 2) |
Backup Rings (Qty 4) |
Dust Seal (Qty 2) |
NA |
NA |
| 93S40-1 |
93S40 |
Retainer Screw (Qty 2) |
Fluid Seal (Qty 2) |
Backup Rings (Qty 4) |
Dust Seal (Qty 2) |
NA |
NA |
SEAL KITS | SWIVEL SEAL KITS | 96S-FLANGED SWIVEL CODE 62 SEAL KITS
96S-FLANGED SWIVEL CODE 62 SEAL KITS

| Part Number |
Body Size |
1 |
2 |
3 |
4 |
5 |
6 |
| 96S8-1 |
96S8 |
Retainer Screw |
Fluid Seal (Qty 2) |
Backup Rings (Qty 4) |
Dust Seal (Qty 2) |
NA |
NA |
| 96S12-1 |
96S12 |
Retainer Screw |
Fluid Seal (Qty 2) |
Backup Rings (Qty 4) |
Dust Seal (Qty 2) |
NA |
NA |
| 96S16-1 |
96S16 |
Retainer Screw |
Fluid Seal (Qty 2) |
Backup Rings (Qty 4) |
Dust Seal (Qty 2) |
NA |
NA |
| 96S20-1 |
96S20 |
Retainer Screw |
Fluid Seal (Qty 2) |
Backup Rings (Qty 4) |
Dust Seal (Qty 2) |
NA |
NA |
| 96S24-1 |
96S24 |
Retainer Screw |
Fluid Seal (Qty 2) |
Backup Rings (Qty 4) |
Dust Seal (Qty 2) |
NA |
NA |
| 96S32-1 |
96S32 |
Retainer Screw (Qty 2) |
Fluid Seal (Qty 2) |
Backup Rings (Qty 4) |
Dust Seal (Qty 2) |
NA |
NA |
|